🎁 Professionnels, créez votre compte Business + : 1ʳᵉ livraison gratuite pour fêter notre lancement -> Créer mon compte
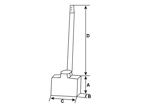
Infos techniques
|
A - Hauteur (mm)
14.00 |
14.00 |
|
B - Épaisseur (mm)
7.00 |
7.00 |
|
C - Largeur (mm)
14.00 |
14.00 |
|
D - Longueur de câble (mm)
55.00 |
55.00 |
|
N° balais
4 |
4 |

Besoin de conseils ? On est là pour vous !
Notre équipe du service client est à votre écoute par e-mail ou téléphone
Du lundi au vendredi, de 9h à 12h.
Par mail à vitemonbalaidecharbon@gmail.com
Par téléphone au 02 79 61 10 07