🎁 Professionnels, créez votre compte Business + : 1ʳᵉ livraison gratuite pour fêter notre lancement -> Créer mon compte

Balais de charbon compatible pour démarreur REMY 10455050

MARQUE COMPATIBLE
Réf : CAOW582139
Fin de série
6,57
  • Entreprise française
  • Livraison rapide
  • Paiement sécurisé
  • Produits garantis

Infos techniques

N° balais

4

4
Voltage

12

12

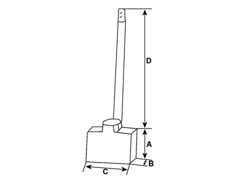
Côtes et dimensions des balais de charbon pour REMY 10455050

Schéma balai de charbon de démarreur

Besoin de conseils ? On est là pour vous !

Notre équipe du service client est à votre écoute par e-mail ou téléphone

Du lundi au vendredi, de 9h à 12h.

Par mail à vitemonbalaidecharbon@gmail.com
Par téléphone au 02 79 61 10 07