🎁 Professionnels, créez votre compte Business + : 1ʳᵉ livraison gratuite pour fêter notre lancement -> Créer mon compte

Cao 141213 1 Cao 141213 2
  • Cao 141213 1
  • Cao 141213 2

Balais de charbon compatible pour démarreur PRESTOLITE 4232

MARQUE COMPATIBLE
Réf : CAOW731159
Fin de série
7,86
  • Entreprise française
  • Livraison rapide
  • Paiement sécurisé
  • Produits garantis

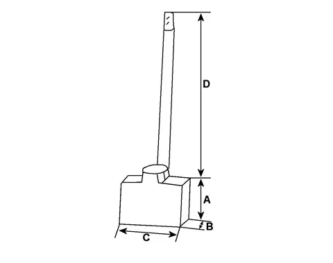
Infos techniques

A - Hauteur (mm)

12.50

12.50
B - Épaisseur (mm)

6.30

6.30
C - Largeur (mm)

6.30

6.30
D - Longueur de câble (mm)

33.50

33.50
N° balais

2

2
Voltage

12

12

Côtes et dimensions des balais de charbon pour PRESTOLITE 4232

Schéma balai de charbon de démarreur

Besoin de conseils ? On est là pour vous !

Notre équipe du service client est à votre écoute par e-mail ou téléphone

Du lundi au vendredi, de 9h à 12h.

Par mail à vitemonbalaidecharbon@gmail.com
Par téléphone au 02 79 61 10 07