En raison des jours fériés du mois de mai, nos délais de réapprovisionnement et de livraison peuvent être exceptionnellement allongés. Nos équipes restent mobilisées, mais des retards indépendants de notre volonté peuvent survenir.

Balais de charbon compatible pour démarreur MISCELLANEOUS 243708025

MARQUE COMPATIBLE
Réf : CAOW764400
Rupture de stock
18,38
  • Entreprise française
  • Livraison rapide
  • Paiement sécurisé
  • Produits garantis

Infos techniques

N° balais

4

4
Voltage

12

12

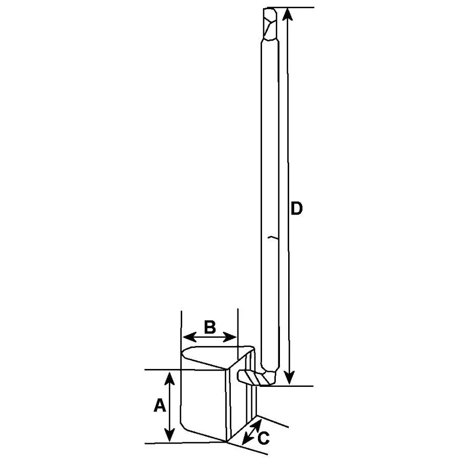
Côtes et dimensions des balais de charbon pour MISCELLANEOUS 243708025

Schéma balai de charbon de démarreur

Besoin de conseils ? On est là pour vous !

Notre équipe du service client est à votre écoute par e-mail ou téléphone

Du lundi au vendredi, de 9h à 12h.

Par mail à vitemonbalaidecharbon@gmail.com
Par téléphone au 02 79 61 10 07