🎁 Professionnels, créez votre compte Business + : 1ʳᵉ livraison gratuite pour fêter notre lancement -> Créer mon compte

Jeu de balais charbon démarreur JSX72 73
  • Jeu de balais charbon démarreur JSX72 73

Balais de charbon compatible pour démarreur DENSO 0285317340

MARQUE COMPATIBLE
Réf : SIMW848994
Disponible sous 7 à 10 j
- Livraison possible dès le lundi 17 novembre
13,70
  • Entreprise française
  • Livraison rapide
  • Paiement sécurisé
  • Produits garantis

Infos techniques

N° balais

4

4
Voltage

12

12

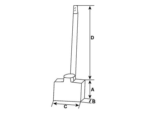
Côtes et dimensions des balais de charbon pour DENSO 0285317340

Schéma balai de charbon de démarreur

Besoin de conseils ? On est là pour vous !

Notre équipe du service client est à votre écoute par e-mail ou téléphone

Du lundi au vendredi, de 9h à 12h.

Par mail à vitemonbalaidecharbon@gmail.com
Par téléphone au 02 79 61 10 07