🎁 Professionnels, créez votre compte Business + : 1ʳᵉ livraison gratuite pour fêter notre lancement -> Créer mon compte

Balais de charbon démarreur DENSO Balais de charbon démarreur DENSO Balais de charbon démarreur DENSO
  • Balais de charbon démarreur DENSO
  • Balais de charbon démarreur DENSO
  • Balais de charbon démarreur DENSO

Balais de charbon compatible pour démarreur DENSO 0285300991

MARQUE COMPATIBLE
Réf : CAOW867661
En Stock
- Livraison possible dès le vendredi 7 novembre
11,07
  • Entreprise française
  • Livraison rapide
  • Paiement sécurisé
  • Produits garantis

Infos techniques

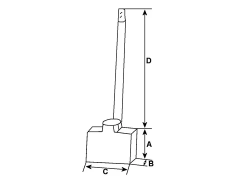
A - Hauteur (mm)

12.00

12.00
B - Épaisseur (mm)

5.90

5.90
C - Largeur (mm)

8.90

8.90
D - Longueur de câble (mm)

30.00

30.00
N° balais

1

1
Remarques

Positive.

Positive.
Voltage

12

12

Côtes et dimensions des balais de charbon pour DENSO 0285300991

Schéma balai de charbon de démarreur

Besoin de conseils ? On est là pour vous !

Notre équipe du service client est à votre écoute par e-mail ou téléphone

Du lundi au vendredi, de 9h à 12h.

Par mail à vitemonbalaidecharbon@gmail.com
Par téléphone au 02 79 61 10 07